
微信公众号影响力榜单
本期排名前30的公众号,“深圳交警”以WCI微信传播指数1184、平均阅读数3万+、总在看数1万+摘得榜首;“深圳公安”位居第二;“深圳交警权威发布”名列第三。

在“深圳市党委政法委系统微信公众号影响力排行榜”中,“心灵茁壮”勇夺第一,“深圳社区网格管理”位居第二,“深圳政法”名列第三。

在“深圳市法院系统微信公众号影响力排行榜”中,“深圳市龙岗区人民法院”斩获第一;“深圳市中级人民法院”拿下第二;“深圳市罗湖区人民法院”位居第三。

在“深圳市检察系统微信公众号影响力排行榜”中,“深圳市人民检察院”高居榜首;“深圳市南山区人民检察院”位居第二;“深圳市福田区人民检察院”紧随其后,名列第三。

在“深圳市公安系统微信公众号影响力排行榜”中,“深圳交警”位列榜首;“深圳公安”名列第二;“深圳交警权威发布”拿下第三。公安系统WCI平均指数最高。

在“深圳市司法行政系统微信公众号影响力排行榜”中,“深圳律协”斩获第一;“深圳法宣号”位居第二;“深圳监狱”名列第三。

微信公众号热文榜单
在“深圳市党委政法委系统微信公众号十大热文榜”中,排名第一的热文《@非深户籍居民:居住登记信息可以自助查询打印啦!》阅读数突破4万,来自稳定产出优质稿件的“深圳社区网格管理”;“心灵茁壮”发布的文章《自制“药酒”变“毒酒”!深圳男子喝后险丧命,这种中药千万别乱用……》位居第二。

在“深圳市法院系统微信公众号十大热文榜”中,“深圳市龙岗区人民法院”、“深圳市中级人民法院”的优质推文多,阅读量高。《龙法微课堂——给青少年的新春大礼包》系列文章受到广泛关注。

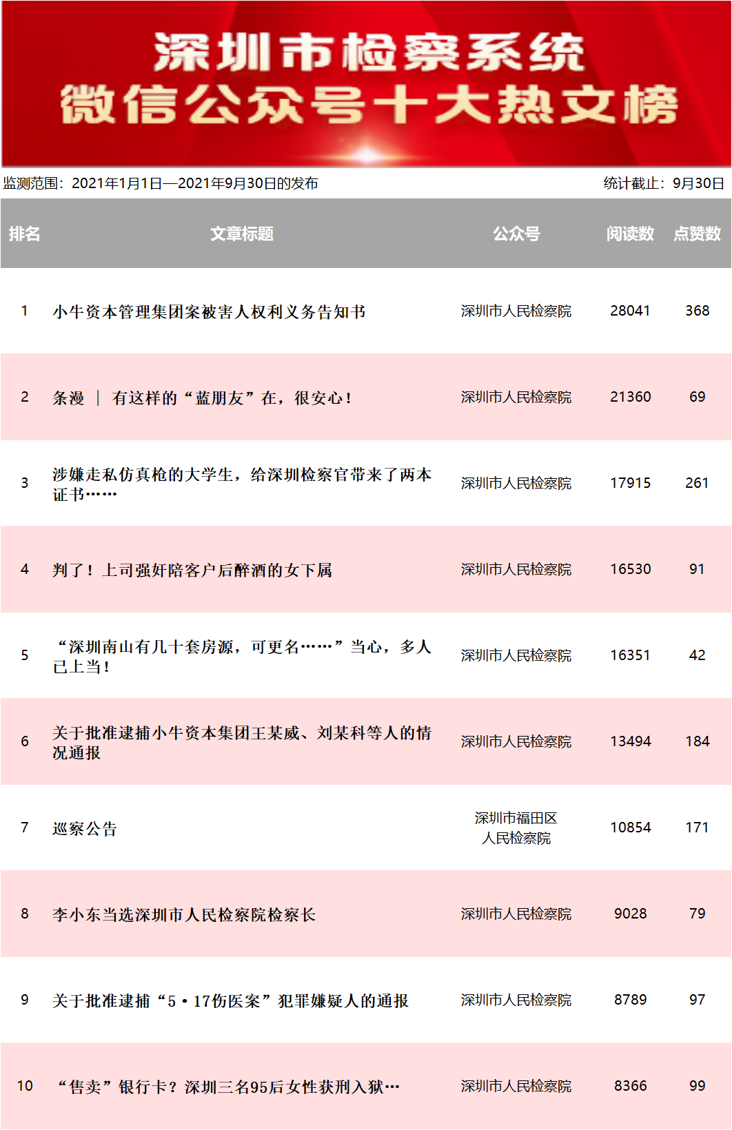
在“深圳市检察系统微信公众号十大热文榜”中,有9篇文章来自“深圳市人民检察院”,其中文章《小牛资本管理集团案被害人权利义务告知书》摘得热文榜首,《条漫丨有这样的“蓝朋友”在,很安心!》也颇受欢迎,位居第二。

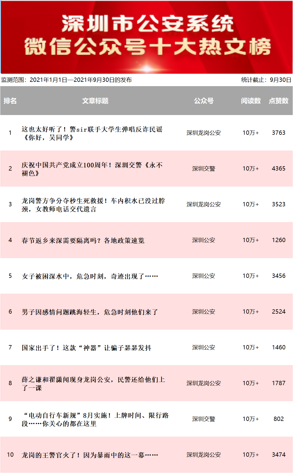
在“深圳市公安系统微信公众号十大热文榜”中,所有热文阅读数均突破10万+,分别来自“深圳龙岗公安”“深圳交警”和“深圳公安”。“深圳龙岗公安”发布的文章《这也太好听了!警sir联手大学生弹唱反诈民谣<你好,吴同学>》位居榜首,“深圳交警”发布的文章《庆祝中国共产党成立100周年!深圳交警<永不褪色>》名列第二。

在“深圳市司法行政系统微信公众号十大热文榜”中,排名第一和第二的热文来自“深圳律协”,分别是《声明》和《执业有利好:即日起深圳律师可查询全国人口信息》。名列第三的热文来自“深圳公证处”发布的文章《全市公证遗嘱免费办》。

榜单说明
● 统计情况:
总样本数量:微信80个;
党委政法委样本数量:微信15个;
法院系统样本数量:微信12个;
检察系统样本数量:微信12个;
公安系统样本数量:微信34个;
司法行政系统样本数量:微信7个。
● WCI(微信传播指数):
通过对微信公众号推送文章的阅读数、点赞数、在看数等数据的分析、计算,反映微信公众号文章传播力和影响力,为微信公众号优化提供参考。鼓励公众号紧跟时事热点,肩负社会担当,积极创作优质内容。聚焦本地,辐射全国,稳定产出优质稿件。


中共深圳市委政法委员会
粤公网安备44030002006438号
粤ICP备15012300号